3轮融资超8亿,雷军看中的存储芯片商筹备IPO

直通IPO
12-09

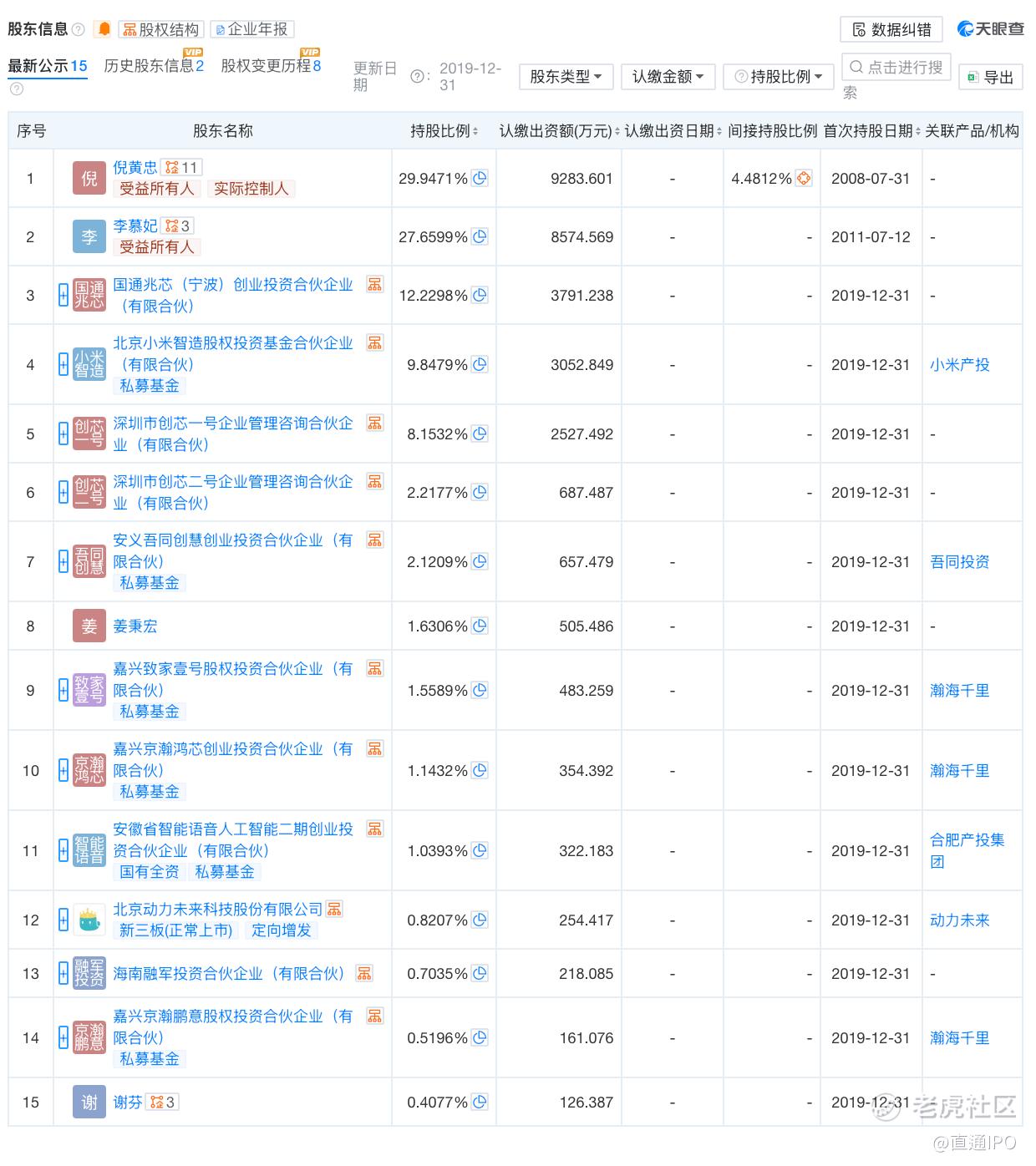
小米产投持股9.8479%,系第二大外部股东。

来源:直通IPO,文/王非

小米的芯片投资版图中,又一家公司踏上资本市场的征程。

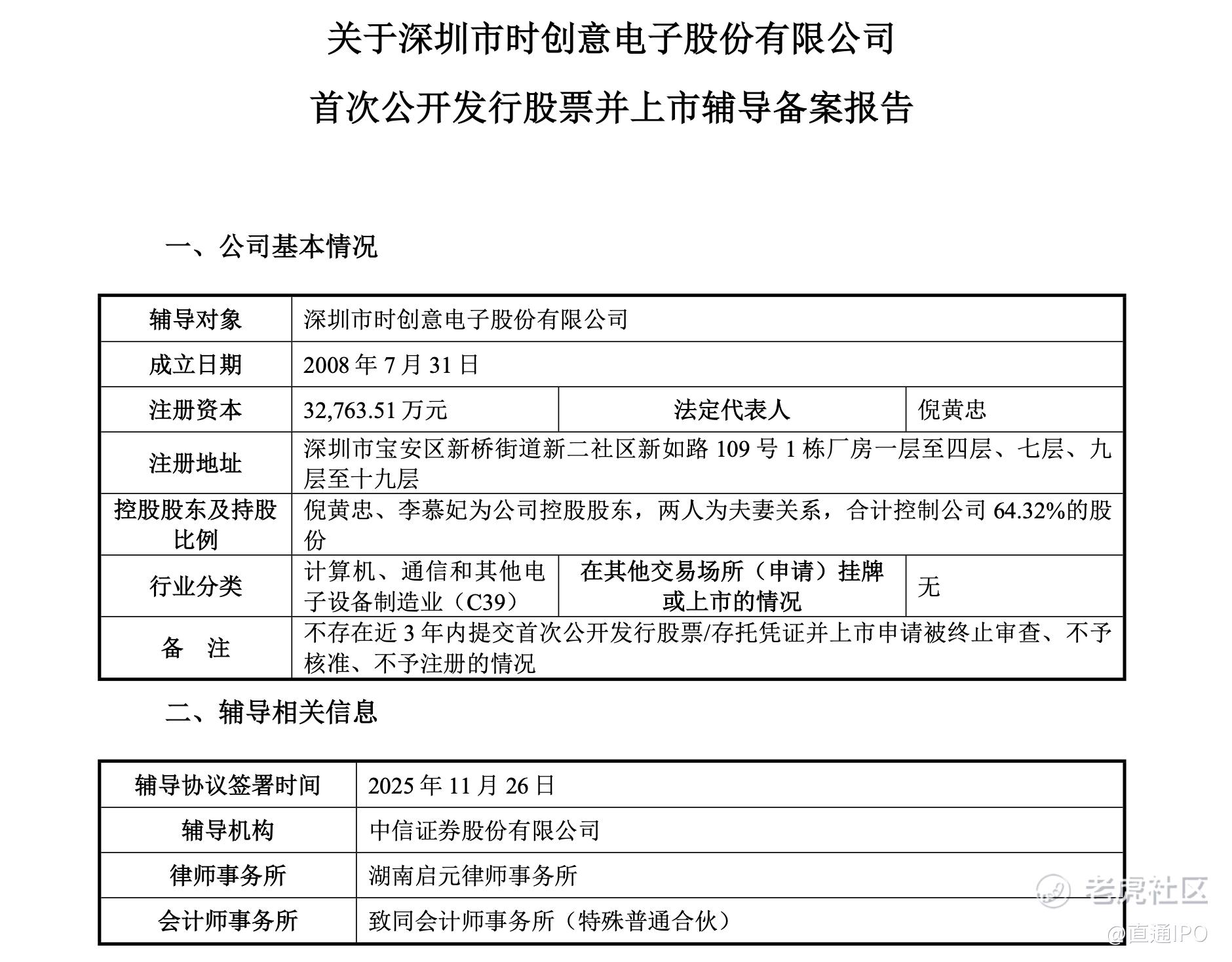
12月2日,存储芯片解决方案和定制化服务提供商深圳市时创意电子股份有限公司(下称:时创意)在深圳证监局进行上市辅导备案,辅导机构为中信证券。

来源:证监会官网截图

值得一提的是,雷军旗下顺为资本连续3轮加注的术锐机器人,也在同一天在北京证监局完成IPO辅导备案登记。

据不完全统计,小米投资的芯片上市公司包括纳芯微、晶晨半导体、乐鑫科技、聚辰半导体、芯原微、无锡好达、恒玄科技、上海南芯半导体等。

此外,国产模拟芯片龙头纳芯微在登陆科创板3年后,预计将于12月8日在香港联交所挂牌交易;小米被投芯片公司昂瑞微将在12月5日进行申购,之后拟在上交所科创板上市。

自2017年开始涉足芯片投资后,在8年时间里,小米已投资超110个芯片半导体项目。伴随时创意开始筹备IPO,小米的芯片投资版图中,上市公司数量即将迈入两位数时代。

据深圳市安徽商会消息,时创意创始人倪黄忠出生于安徽黄山,毕业于2000年,专业为机电一体化。毕业后,他就南下深圳加入一家玩具厂从事产品工艺和产品研发工作。

2008年金融危机时期,目睹大量工厂倒闭、设备低价抛售,技术出身的倪黄忠萌生了创业想法。据芯东西消息,当年7月,他筹措资金购置设备、建厂房,创办了早期以做玩具代工为主业的时创意。

短短两年,积累了一定的产品经验和资金后,倪黄忠毅然决定调整技术和业务方向,以掌握核心技术为指引,开始主攻LED驱动电源、U盘贴牌制造业务。随后在2013年左右,目睹存储芯片市场大跌的他,决心优化产品线,保留U盘模组封装,进军更具技术门槛和发展前景的芯片封装产业。

2015年,为了提高产品竞争力,时创意布局Micro SD。倪黄忠认为,“要做一块真正的芯片必须把BGA封装做好”。功夫不负有心人,2016年,时创意的BGA产品正式量产。

官网发展历程显示,2017年,在倪黄忠带领下,时创意正式启动SSD固态硬盘研发,年内便实现国内首颗256GB mircoSD量产;2019年,时创意与深圳大学建立联合实验室、建立存储芯片重点实验室,提升技术实力的野心可见一斑,也正是在这一年,该公司顺利完成eMMC(嵌入式多媒体卡)量产,并实现512GB mircoSD量产出货。

来源:MTS2026存储产业趋势峰会

2020-2021年,时创意相继实现DRAM模组量产、256GB eMMC国内首发、LPDDR量产、启动UFS研发、国内率先实现基于长存128层TAS颗粒的eMMC量产出货等发展里程碑。

技术与产品走在前列之外,面临大量资金需求的时创意,在2022年迎来首次资本合作。天眼查App信息显示,当年6月,该公司在天使轮融资中引入北京瀚海千里投资管理有限公司(下称:瀚海千里),并在次年5月,新增合肥市产业投资控股(集团)有限公司(下称:合肥产投集团)为股东,A轮战略融资2.8亿元。

事实证明,在2023年存储行业遭遇历史性寒冬的背景下,倪黄忠的决定颇有前瞻性。当年11月,无论是“雪中送炭”还是“抄底”,时创意又获得了小米产投领投的3.4亿元B轮融资,动力未来、吾同投资跟投。其中,动力未来是小米生态链企业青米科技的母公司。

至此,时创意在短短半年内吸金超6亿元。此后,该公司又在2024年完成2亿元B+轮战略融资(未公开)。

辅导备案文件显示,倪黄忠、李慕妃夫妻二人作为控股股东,合计控制公司64.32%股份。

天眼查App信息显示,国通兆芯(宁波)创业投资合伙企业(有限合伙)持有时创意12.2298%股份,系第一大外部股东;小米产投持股9.8479%,紧随其后;天使轮投资方瀚海千里合计持股3.2217%;吾同投资持股2.1209%;合肥产投集团持股1.0393%;动力未来持股0.8207%。

来源:天眼查

在资本的助力下,2023年,时创意即提出,百亿产值的5年目标以及达到千亿市值的终极目标。

2024年,时创意已拥有时创意(存储芯片封装)和数钛芯(存储模组制造)两条先进产线,芯片封装能力达2亿颗/年,模组生产能力达1800万颗/年,全年营收预计超30亿元。

在2024年11月的MTS2025存储产业趋势研讨会上,时创意董事长倪黄忠透露,依托总部大厦建设,时创意新产线全面投产后,整体产能将得到300%以上的提升,未来3-5年时创意年产值有望达到100亿元规模。同时,重磅发布定位高端智能移动终端,全新量产的高性能嵌入式闪存产品—1TB UFS3.1。

今年,面对AI终端对存储芯片“超薄、小型化、大容量、高速度”的严苛需求,时创意在封装与测试环节实现多项技术突破:SDBG隐形切割工艺:采用激光改制切割,精度达1μm,晶圆抗折强度提升30%,厚度可减薄至25μm,支持超薄封装;C-Molding封装工艺:模具间隙可薄至0.06mm,产品封装厚度可薄至0.6mm,支持8叠Die/16叠Die封装工艺;DRAM ATE超高速率测试机台:TERADYNE Magnum EPIC SSV测试机台,最高测试速率可达11000Mbps,能够完美满足最新及下一代产品测试需求,并满足AI时代对DRAM大容量、高带宽、低延时的要求。

此外,面向AI终端应用,时创意还推出了全新的AI产品矩阵,还包括Mini eMMC、超薄ePOP、UFS 3.1、PCIe 5.0 SSD 8TB等,全面覆盖从端侧设备到数据中心的多元化AI存储需求。

经过17年拼搏努力,当前的时创意,已发展成为一家专注于存储芯片领域,集芯片设计、软固件研发、封装测试、模组制造测试及应用于一体的国家高新技术企业和国家专精特新重点“小巨人”企业,产品及业务涵盖嵌入式存储、固态硬盘、内存模组及移动存储,为全球客户提供一站式存储解决方案和产品定制化服务。

免责声明:上述内容仅代表发帖人个人观点,不构成本平台的任何投资建议。

精彩评论

我们需要你的真知灼见来填补这片空白
发表看法