【港股打新】明天要关注的事|欧康简析

新股渔夫
2020-06-28

$海吉亚医疗(06078)$ $康基医疗(09997)$ $海普瑞(09989)$ 

有点崩溃,没时间每个都写了,应该也不用写分析了,地球人都知道怎么打了。

但现在已知信息还是不够,先写下明天渔夫要干的事情。

1、早上8:30先把HL的眼药水占上,可能没95只有90的了,90就90里吧,因为出金是T+2的,明天申请出金也来不及了。估计可能像康基一样,中间会有放出95,关注群通知吧。

2、重点关注欧康维视,现在已知是融资15.5E,入场费传言是7400,总共21W手,货源差不多是康基的一半,一手中签率甚至可能在5%以内。势必十分难抢,资金利用率不高,可以考虑适当放弃些,一手摸奖很难中了,要不就上大甲,现在只参照康基数据,拍脑袋,可能一户在100W左右,拿货概率才大点。当然这些分析都是在7400,15.5E数据是准的前提下说的,乙组预计也非常难,乙头就拿个2,3手都有可能,纯属娱乐。

3、正荣和思摩尔,主要看下基石、融资总额的情况,再做决定,如果眼药水很难抢,可能多从这2个里做选择,电子烟业绩非常好,但政策不明朗,电商渠道不让卖了,加上疫情,对业绩打击不小,赌性大一些,炒作空间也大,到时候一方面参考基石,一方面参考货源,电子烟的货据说挺多的,融资71E,回拨50%以后,和海吉亚手数差不多,难度应该也差不多,乙组更划算一些。正荣也不错,到时候再看吧。

4、划线的也不表示就肯定不好,实在是资金有限,没钱打了,这些划线的里边最后我会再看看,应该有那么2,3个值得白嫖或者小搏冷一下的。

5、海普瑞周一看看A股表现,除非大涨很多,不然就放弃了,现在看应该比预期冷很多,估计最后也就是回拨30%-40%,这样的话,16W货源给公开,如果不到10万人参与,一手中签率可能会比较高。看个人取舍了,因为相对好拿货一些,愿不愿意为这几百块的套利,牺牲些本金,放弃后边的票,看个人情况了。

弘阳估计得融资20-30手能拿一手,其实也挺不错的,如果想参与不建议现金,一手中签率不会高,还浪费本金,现在最重要的不是融资手续费,而是宝贵的子弹。

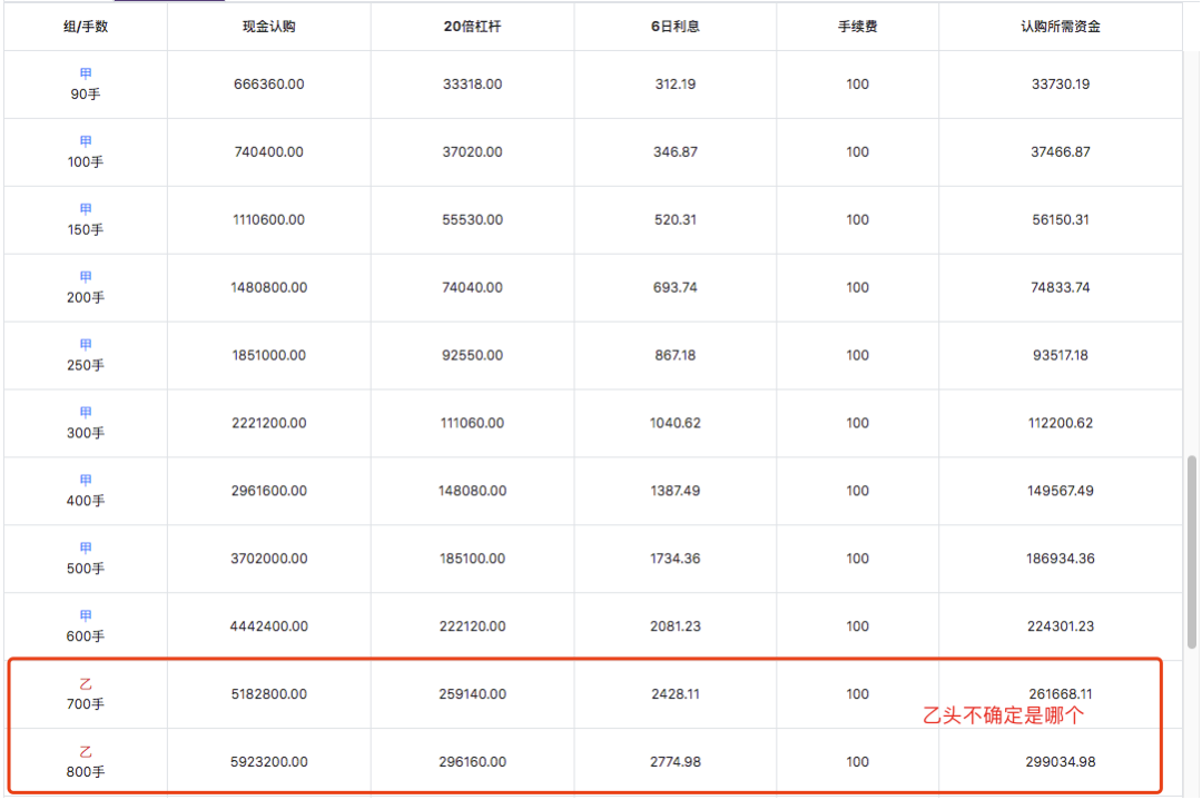
最后附上如果按7404的入场费计算,欧康的各手数需要的本金,提前准备钱吧。

一起交流打新经验。

【IPO情报局】本周新股,你看好哪家?
港美股打新集中营! ——10月20日, $剑桥科技 (06166.HK)$ 、 $三一重工 (06031.HK)$ 、 $滴普科技 (01384.HK)$ 和 $八马茶业(06980.HK)$同日开启全球招股!【有你看好的新股吗? $广和通 (00638.HK)$今日上市,成为第一只破发的机制B,大家对接下来打新市场前景是否依然看好?】
免责声明:上述内容仅代表发帖人个人观点,不构成本平台的任何投资建议。

精彩评论

发表看法
2