瑞博生物-B,更新招股书,拟赴香港上市 | 未盈利生物科技 IPO上市
2025年4月25日,苏州瑞博生物技术股份有限公司 Suzhou Ribo Life Science Co., Ltd.(下称"瑞博生物”)在港交所递交招股书,拟在香港主板上市。
瑞博生物招股书链接:
https://www1.hkexnews.hk/app/sehk/2025/107314/documents/sehk25042504213_c.pdf
主要业务
瑞博生物,成立于2007年,作为研究和开发小核酸药物、尤其专注于siRNA疗法的全球领军者,是最早涉足该领域的开拓者之一,致力于开发包括心血管、代谢类、肾脏和肝脏疾病的创新疗法。
瑞博生物已经创建全球最大的siRNA药物管线之一,有六款自研药物资产处于临床试验,涉及心血管、代谢类、肾脏和肝脏疾病的七种适应症,其中四款处于2期临床试验中。
根据弗若斯特沙利文的数据,瑞博生物的核心产品RBD4059(靶向FXI的siRNA)是全球首款、也是临床开发进展最快的用于治疗血栓性疾病的siRNA药物,通过选择性抑制FXI,RBD4059可在不显著增加出血风险(传统抗凝剂的常见局限性)的情况下降低血栓形成的风险,同时以低频率的给药产生持久的疗效,提高患者的依从性。
除核心产品RBD4059外,瑞博生物亦正在推进两款关键产品RBD5044及RBD1016。RBD5044是全球第二个进入临床开发的靶向APOC3的siRNA。APOC3是一种在脂质代谢中起关键作用的蛋白质。RBD1016凭借其对HBsAg的强效和持久作用,是未来实现CHB功能性治愈的联合方法的重要支柱疗法,及治疗CHD的领先siRNA候选药物。除临床产品管线之外,公司亦保持超过20个计划推进到临床开发阶段的临床前项目。
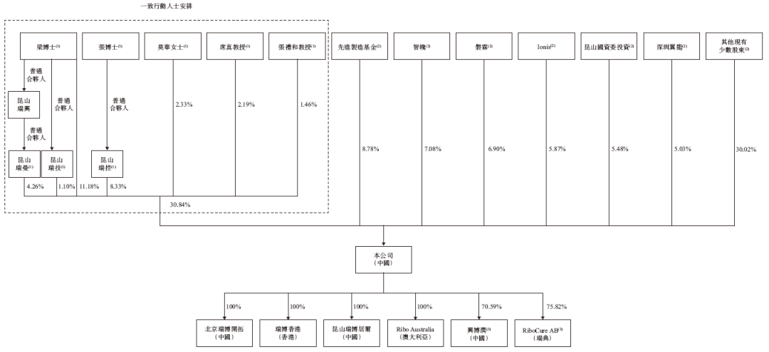
股东架构
招股书显示,瑞博生物在香港上市前的股东架构中,
梁子才博士、莫华女士、席真教授、张礼和教授等一致行动,合计控制约30.84%的股份。
管理层
瑞博医药董事会由9名董事组成,包括:
-
3名执行董事:梁子才博士(董事长、首席执行官)、甘黎明博士(联席首席执行官、全球研发总监兼首席医学官)、张鸿雁博士(总裁);
-
3名执行董事:戚飞博士(君联资本管理股份有限公司执行董事)、李东方先生(国投创新投资执行董事)、李宇辉先生(盘霖创始主管合伙人兼董事长);
-
3名独立非执行董事:宇学峰博士(康希诺生物董事长、行政总裁兼总经理)、马朝松先生(京信利恒税务师事务所董事长、中天运会计师事务所合伙人)、王瑞平先生(DABANC HOLDING创始人、联席主席,TDR Capital创始管理合伙人)。
除执行董事外,高管包括童成博士(执行副总裁)、高山博士(高级副总裁兼首席科学官)、张苏先生(首席财务官、董事会秘书兼联席公司秘书)。
监事会3名:王番女士、王立杰先生、张宁先生。
公司业绩
招股书显示,在过去的2023年、2024年,瑞博生物的营业收入分别人民币4.4万、1.43亿元,相应的研发开支分别为3.16亿、2.80亿元,相应的净亏损分别为人民币4.37亿亿、2.81亿元。
瑞博生物的收入主要来自许可及合作安排,2023年12月,公司授予齐鲁制药在中国内地、香港和澳门开发、生产和商业化RBD7022的独家权利。
中介团队
瑞博生物是次IPO的中介团队主要有:
中金公司、花旗为其联席保荐人;
安永为其审计师;
中伦为其公司中国律师;
凯易为其公司香港及美国律师;
通商为其券商中国律师;
美迈斯为其券商香港律师;
亚太评估为其物业估值师;
东吴证券为其合规顾问;
弗若斯特沙利文为其行业顾问。
*疏漏难免,敬请指正
版权声明:“瑞恩IPO上市”主要跟踪关注香港上市、澳门上市、美国上市等,所有原创文章,转载须联系授权,并在文首/文末注明来源、作者、微信ID,否则我们将向其追究法律责任。部分文章推送时未能与原作者或公众号平台取得联系。若涉及版权问题,敬请原作者联系我们。
更多香港IPO、美国IPO等境外上市资讯,敬请浏览:www.hkmipo.com
相关阅读
香港70家“未盈利生物科技公司”市值排行及股市表现 (20250430)
31家香港上市“医疗服务企业”市值排行及股市表现 (20250430)
19家香港上市“互联网医疗/AI医疗/数字医疗企业”市值排行及股市表现 (20250430)
恒瑞医药,通过港交所上市聆讯,更新招股书 | 医疗健康企业IPO上市
映恩生物(09606)超额行使配股权,额外募资2.35亿,香港上市以来累升1.1倍 | 医疗健康企业IPO上市
江西生物,递交招股书,拟赴香港上市 | 医疗健康企业IPO上市
卓正医疗,递交招股书,拟赴香港上市 | 医疗健康企业IPO上市
明基医院,递交招股书,拟香港上市 | 医疗健康企业IPO上市
医疗健康企业纷纷涌向香港上市,2018年上市改革以来共136家 | 香港IPO市场
免责声明:上述内容仅代表发帖人个人观点,不构成本平台的任何投资建议。


