0含量的南极磷虾油,曝出真假同仁堂
在《西游记》里有个经典的“真假美猴王”故事,六耳猕猴和孙悟空一模一样,都能七十二变,唐僧无法区分出谁是真的孙悟空,最终如来佛祖出面,才确认谁是真假。
12月17日晚间,A股上市公司同仁堂(全称北京同仁堂股份有限公司)发布澄清公告,称一款被曝光的挂着同仁堂标志的南极磷虾油和公司无关。
这款南极磷虾油的生产厂商是北京同仁堂(四川)健康药业有限公司,隶属于同仁堂集团。如此看来,A股的同仁堂和四川健康药业算兄弟单位。
同仁堂提醒消费者,公司旗下产品均在显要位置标注“同仁堂双龙商标”,并明确注明生产单位。
在A股上市公同仁堂义正言辞的澄清的时候,奇怪的是同仁堂集团,对此事三缄其口。
对于普通消费者来说,映入眼帘的是“同仁堂”金字招牌,不可能去查看公司的股权关系,究竟是同仁堂集团旗下企业的产品,还是上市公司同仁堂的产品。
在消费者买到了0含量的南极磷虾油的时候,谁来为真假同仁堂负责呢?
这场风波,对于上市公司同仁堂来说,业绩压力更大了。
01
甩卖海外资产
2025年前三季度,同仁堂实现营业收入133.08亿元,同比下降3.70%;归属于上市公司股东的净利润11.78亿元,同比下降12.78%;扣除非经常性损益后的净利润11.63亿元,同比下降11.95%。
数据来源:iFind
值得注意的是,第三季度单季业绩下滑更为明显:营业收入35.39亿元,同比下降12.76%;归母净利润2.32亿元,同比下降29.49%。
具体来说,有两个原因影响了公司的业绩。
一是销售费用增长8.47%,在营收规模下降的情况下,销售费用增幅较大;二是非经常性收益减少,包括投资收益同比下降83.76%,政府补助同比下降31.07%,对利润影响较大。
尽管利润下滑,但公司的核心财务指标相对稳定。
前三季度毛利率达43.86%,较上年同期实现小幅增长,这是医药类企业最核心的指标。
数据来源:iFind
加权平均净资产收益率为8.62%,较上年同期减少1.78个百分点,但仍显著高于行业中值(4.74%)。
数据来源:iFind
资产负债率降至32.57%,较上季度减少1.13个百分点,较去年同期减少1.78个百分点,财务结构比较稳健。
数据来源:iFind
同仁堂作为中药行业龙头企业,品牌价值与研发能力领先,在补益类药品、心脑血管用药等领域占据头部地位。其核心产品如安宫牛黄丸市场占有率超30%,人参产品位列行业第一梯队,综合市占率约8%-10%。
2025年中药材市场价格呈现"跌多涨少"态势,特别是动物类中药材价格指数从2024年末的139.81点下降至2025年3月末的150.39点,跌幅达4.64%。安宫牛黄丸等依赖动物药材的经典产品可能面临成本波动影响。
结合公司半年报可以了解到,公司的电商渠道收入增速或超20%,成为增长新引擎,特别是在情人节、三八妇女节等营销热点期间,通过AI直播能力优化销售转化。
02
合资公司持股51%的秘密
除了生产药物外,同仁堂还从事药店连锁。
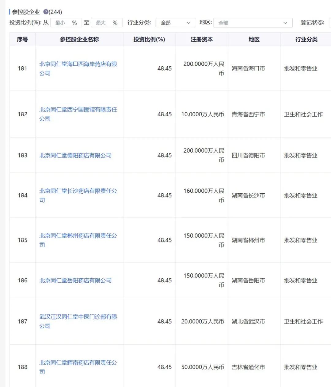
同仁堂有超100家参控股公司,其中相当一部分是药店。
然而,比较奇妙的是,这些药店的持股比例,大多为51%。
51%有什么说法吗?
从财务的视角看,51%通常意味着拥有控制权,需要并表,将合资公司的资产、营收等核心指标进行合并体现在上市公司财报里。
同时,合资方持股49%,也能得到差不多一半的投资收益,确保利益最大化。似乎是一种非常完美的合作方式。
然而,有一个指标出现了瑕疵。
投资收益中的对联营企业和合营企业的投资收益。
有控制权的合资公司(如持股51%),会进行并表;没有控制权的合资公司(如持股49%),不进行并表,但会将合资公司的净利润按照持股比例体现在投资收益中的对联营企业和合营企业的投资收益。
公司大部分年份的对联营企业和合营企业的投资收益都是负数,这说明公司的没有控制权的合资公司效益不佳。
这里面藏着一个秘密。
让星空君领着大家一点点拆解:
随便选一个持股51%的合资公司,保定北京同仁堂药店有限责任公司。
这家公司有三个大股东,其中北京同仁堂商业投资集团有限公司持股51%。这个投资公司是同仁堂的资本运作公司,由同仁堂和同仁堂集团持有绝大多数股份,其中同仁堂是大股东、实控人,专门进行投资合资公司。
所以它持股51%的合资公司,通过穿透,也是同仁堂实际控制的合资公司,要参与并表。
据iFind,北京同仁堂商业投资集团有限公司参控股企业多达244家。
投资比例各不相同,其中持股5%及以上的有172个,其余的不足50%,属于参股公司,不需要并表。
这就存在一种可能,根据合资公司的盈利情况,通过微调其参股比例,将业绩好的合资公司调整到上市公司并表范围,将业绩不好的合资公司调整到非并表范围。
事实上,这曾是房地产企业常用的操作技巧,采用该方式可以做大营收和优化财报业绩,从而获取更多的资金支持。
03
风险和挑战
结合公司的财报,核心业务分两大板块,一是以生产中成药为主的医药工业板块,二是以连锁药店的医药商业板块,目前两个板块均面临挑战,但表现各有特点。
医药工业板块方面,公司深耕品种品规培育,持续推进大品种战略与精品战略,但受市场环境影响,第三季度销售减少。
医药商业板块方面,以提升零售药店经营质量为核心,聚焦主题店型、多元业态,强化终端布局;依托特色产业园区、文旅景点、政务服务中心等空间,拓展多元化渠道。
免责声明:上述内容仅代表发帖人个人观点,不构成本平台的任何投资建议。


